Αφιερωμένο στους κατασκευαστές - βιοτέχνες κυψελών.
ΤΕΧΝΙΚΑ ΧΑΡΑΚΤΗΡΙΣΤΙΚΑ ΤΗΣ ΚΥΨΕΛΗΣ

Εικόνα 1. Η κυψέλη τύπου Langstroth με τις διάφορες διαστάσεις της σε χιλιοστά του μέτρου.

Εικόνα 2. Βαθύ πάτωμα τύπου Langstroth με τις διαστάσεις σε χιλιοστά του μέτρου.

Εικόνα 3. Η κινητή βάση ή πυθμένας της κυψέλης σε χιλιοστά του μέτρου.


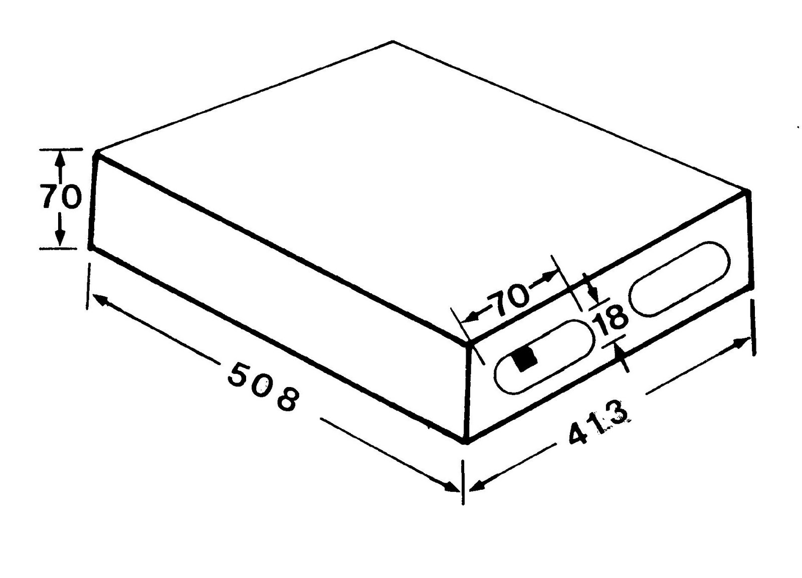
Εικόνα 4. Καπάκι εξωτερικό σε κανονική και αναποδογυρισμένη θέση με τις διαστάσεις σε χιλιοστά του μέτρου.

Εικόνα 5. Καπάκι εσωτερικό και καπάκι τύπου Αυστραλίας με διαστάσεις σε χιλιοστά του μέτρου
Εικόνα 6. Λεπτομέρεια κατασκευής στο σώμα της κυψέλης όπου επικάθονται τα πλαίσια με τις διαστάσεις σε χιλιοστά του μέτρου.
Εικόνα 7. Λεπτομέρειες κατασκευής κυψέλης και πλαισίων όπου φαίνεται σε διάφορα σημεία το διάστημα μέλισσας σε χιλιοστά του μέτρου.

Εικόνα 9. Οι διαστάσεις σε χιλιοστά του μέτρου των διαφόρων τμημάτων του πλαισίου τύπου Hoffman.
>Εικόνα 10. Λεπτομέρεια κατασκευής του πλαισίου τύπου Hoffman με διαστάσεις σε χιλιοστά του μέτρου.
ΤΕΧΝΙΚΑ ΧΑΡΑΚΤΗΡΙΣΤΙΚΑ ΤΗΣ ΚΥΨΕΛΗΣ
.... από την οπτική γωνία της λειτουργικότητας και της ευκολίας εφαρμογής των διαφόρων μελισσοκομικών χειρισμών βρέθηκε ότι οι κυψέλες των 8 και 10 πλαισίων Hoffman (Standard) είναι οι πιο ενδεδειγμένες για την Ελλάδα. Η κυψέλη τύπου Langstroth έχει σταθερές διαστάσεις και πρέπει να τηρηθούν ως πρότυπο και να ακολουθούνται από όλους τους κατασκευαστές κυψελών. Οι αποκλίσεις από τις διαστάσεις αυτές μόνο προβλήματα έχουν δημιουργήσει και πιστεύουμε ότι έγιναν από άγνοια και όχι από πρόθεση. Για να σταματήσει όμως αυτό το κακό θα πρέπει όλοι οι φορείς που εμπλέκονται με τη μελισσοκομία να τηρούν τις σταθερές προδιαγραφές με θρησκευτική ευλάβεια.
Παρακάτω δίδονται με λεπτομέρεια οι διαστάσεις όλων των τμημάτων της κυψέλης τύπου Langstroth των 10 πλαισίων όπως αρχικά εισήχθηκε στην Ελλάδα και υιοθετήθηκε από το Υπουργείο Γεωργίας και χρησιμοποιείται από τις περισσότερες χώρες του κόσμου.
Οι εξωτερικές διαστάσεις της κυψέλης μπορεί να διαφέρουν μερικά χιλιοστά αν αυτό κρίνεται αναγκαίο για τεχνικούς λόγους. Αυτό όμως που πρέπει να τηρηθεί με «θρησκευτική ευλάβεια» είναι οι εσωτερικές διαστάσεις και του πλαισίου, ώστε να διασφαλίζεται το διάστημα της μέλισσας (6-9 χιλιοστά).
Οι απαιτήσεις της σύγχρονης μελισσοκομίας απαιτεί την ύπαρξη κινητού πυθμένα (βάσης) γιατί διευκολύνονται κατά πολύ οι μελισσοκομικοί χειρισμοί (αναστροφή πατωμάτων, καθαρισμός πυθμένα, έλεγχος του εμβρυοθαλάμου για βασιλοκύτταρα με απλό ανασήκωμα της μιας μόνο πλευράς κ.ά.). Η ύπαρξη διαφόρων τύπων συνδετήρων εξασφαλίζουν τη σταθερότητα της κυψέλης κατά τη διάρκεια των μεταφορών.

Εικόνα 1. Η κυψέλη τύπου Langstroth με τις διάφορες διαστάσεις της σε χιλιοστά του μέτρου.

Εικόνα 2. Βαθύ πάτωμα τύπου Langstroth με τις διαστάσεις σε χιλιοστά του μέτρου.

Εικόνα 3. Η κινητή βάση ή πυθμένας της κυψέλης σε χιλιοστά του μέτρου.


Εικόνα 4. Καπάκι εξωτερικό σε κανονική και αναποδογυρισμένη θέση με τις διαστάσεις σε χιλιοστά του μέτρου.

Εικόνα 5. Καπάκι εσωτερικό και καπάκι τύπου Αυστραλίας με διαστάσεις σε χιλιοστά του μέτρου
Εικόνα 6. Λεπτομέρεια κατασκευής στο σώμα της κυψέλης όπου επικάθονται τα πλαίσια με τις διαστάσεις σε χιλιοστά του μέτρου.
Εικόνα 7. Λεπτομέρειες κατασκευής κυψέλης και πλαισίων όπου φαίνεται σε διάφορα σημεία το διάστημα μέλισσας σε χιλιοστά του μέτρου.
Εικόνα 9. Οι διαστάσεις σε χιλιοστά του μέτρου των διαφόρων τμημάτων του πλαισίου τύπου Hoffman.
>Εικόνα 10. Λεπτομέρεια κατασκευής του πλαισίου τύπου Hoffman με διαστάσεις σε χιλιοστά του μέτρου.ΓΕΩΠΟΝΙΚΟ ΠΑΝΕΠΙΣΤΗΜΙΟ ΑΘΗΝΩΝ
ΕΡΓΑΣΤΗΡΙΟ ΣΗΡΟΤΡΟΦΙΑΣ ΚΑΙ ΜΕΛΙΣΣΟΚΟΜΙΑΣ
Χρηματοδότης: ΥΠΟΥΡΓΕΙΟ ΓΕΩΡΓΙΑΣ
Δ/ΝΣΗ ΖΩΙΚΗΣ ΠΑΡΑΓΩΓΗΣ & ΑΠΑ
ΚΑΝ. 1221/97, ΔΡΑΣΗ V
ΕΡΕΥΝΑ-ΜΕΛΕΤΗ ΤΗΣ ΠΟΙΟΤΗΤΑΣ ΤΟΥ ΜΕΛΙΟΥ
ΤΕΛΙΚΑ ΑΠΟΤΕΛΕΣΜΑΤΑ
του Ερευνητικού Προγράμματος ΜΕΛΕΤΗ ΤΥΠΩΝ ΚΥΨΕΛΩΝ
Φορέας Εκτέλεσης: ΓΕΩΠΟΝΙΚΟ ΠΑΝΕΠΙΣΤΗΜΙΟ ΑΘΗΝΩΝ,
ΕΙΔΙΚΟΣ ΛΟΓΑΡΙΑΣΜΟΣ ΚΟΝΔΥΛΙΩΝ ΕΡΕΥΝΑΣ
Επιστημον. Υπεύθυνος: Πασχάλης Χαριζάνης, Επίκουρος Καθηγητής Δ/ντής Εργαστηρίου Σηροτροφίας και Μελισσοκομίας
Πηγή : melinet.gr

Δεν υπάρχουν σχόλια:
Δημοσίευση σχολίου